Double Block and Bleed (DBB) Valves for Offshore Thailand Proven Performance with SUNGO
- Dates: April 6, 2026
- Bangkok, Thailand
Introduction
In the offshore oil and gas industry, safety, reliability, and operational efficiency are critical. Systems operate under harsh conditions including high pressure, hazardous fluids, and limited accessibility. Among the most trusted solutions for ensuring safety and system integrity are Double Block and Bleed (DBB) Valves.
This article explains what a DBB valve is, its purpose and typical requirements, its applications in offshore and high-risk systems, the different valve types that can implement DBB functions, and the proven performance of SUNGO DBB valves supplied by Thai PNB International in Thailand’s offshore projects, including major MRO projects. You will also understand why SUNGO Valves has earned repeated client trust over the years, from initial MRO projects to being added to Approved Manufacturer Lists (AML) and successfully participating in new project bids.
What Is a Double Block and Bleed (DBB) Valve?
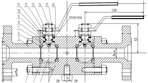
A Double Block and Bleed valve is designed to provide two independent sealing barriers (double block) and a bleed port located between them. This allows operators to safely isolate sections of a system and release trapped pressure, ensuring operational safety in critical applications.
In a typical DBB ball valve design, you can think of it as having two ball valves in series, with a small bleed valve in the middle (usually at the bottom). The first valve blocks the flow from the upstream side, while the second blocks the downstream side.
The space between these two valves can trap pressure, and this is where the bleed valve plays an important role. By opening the bleed valve, any trapped pressure or fluid can be safely released. This allows operators to confirm that both sealing barriers are functioning properly and ensures that the section is fully isolated before maintenance or inspection.
This simple yet effective design makes DBB valves highly reliable for critical applications where safety and zero leakage are required.
Key Features of a DBB Valve:
- Two independent sealing surfaces for upstream and downstream isolation
- Bleed port to release trapped pressure
- Capability to verify seal integrity and detect leakage
Purpose and Typical Requirements of a DBB Valve
While the DBB design explains how isolation is achieved, its purpose in real applications is to ensure safe and verifiable isolation under demanding operating conditions. This is particularly important in hazardous or high-pressure systems, where maintenance, testing, or modifications must be carried out without compromising overall system integrity.
In practice, DBB valves are selected based on several key requirements:
- Zero leakage performance in critical systems
- Safe maintenance and testing with verifiable isolation
- Protection of personnel, equipment, and the environment
- Simplified system design by replacing multiple valves with a single DBB solution
- Suitability for high-pressure, high-temperature, or hazardous fluid conditions
- Compact design for installations with limited space or difficult access
Applications and Importance of DBB Valves in Offshore Operations
Double Block and Bleed (DBB) valves are widely used in industries that demand the highest levels of safety and reliability. In offshore operations, where space is constrained, maintenance access is limited, and operating conditions are often harsh, DBB valves play a critical role in ensuring safe, efficient, and reliable system performance.
By integrating two independent block valves into a single compact body, DBB ball valves significantly reduce installation footprint, weight, and potential leak paths compared to conventional multi-valve assemblies. The inclusion of a bleed function allows controlled depressurization of the internal cavity, improving maintenance safety and enabling operators to verify proper isolation before any intervention. These advantages make DBB valves particularly suitable for space-constrained installations such as offshore platforms and FPSOs.
These compact ball valves also retain the benefits of split body construction and are internally equipped with a double sealing system, further enhancing reliability in critical applications. They are also available in DB (Double Block) configurations without a bleed function and can be supplied in a wide range of sizes, pressure ratings, and materials to meet diverse operational requirements.
DBB valves are commonly applied in high-pressure and high-temperature pipelines, gas handling systems including natural gas and hydrogen, LNG and cryogenic applications, chemical injection lines, and instrumentation isolation. They also play a key role in pipelines and storage systems, compressors and pumps, sampling and metering systems, flare networks, as well as subsea and wellhead installations.
In all of these applications, DBB valves contribute directly to operational safety, minimize the risk of leakage, and help maintain overall system integrity under demanding offshore conditions.
DBB Is Not Limited to Ball Valves
While DBB Ball Valves are the most widely used, the DBB concept is not limited to a single type. Other valve types can implement DBB functions depending on system requirements.
- Ball Valves – fast operation, excellent sealing, ideal for high-pressure systems
- Gate Valves – suitable for large pipelines with minimal pressure drop
- Plug Valves – effective for fluids containing solids or abrasive content
Selection depends on:
- Fluid characteristics
- Pressure and temperature conditions
- Process requirements
- Operation and maintenance considerations
In offshore and other critical applications, DBB Ball Valves are generally preferred for their compact design, quick operation, and superior sealing performance.
Experience in Thailand Offshore Projects and Why SUNGO Valves Is Trusted
Since 2022, SUNGO DBB Ball Valves supplied by Thai PNB International have been extensively used in offshore projects in Thailand, including both major installations and MRO (Maintenance, Repair, and Operations) activities. These valves are trusted for high-pressure, large-size pipelines and critical applications due to their advanced design and certifications.
Key features include:
- Fire safe certification per API 607
- Emergency sealant injection capability
- Blowout-proof static stem
- Double block & bleed function for verified isolation
- Available sizes from 2" to 56" and pressure ratings Class 150–2500
- Body materials include WCB, LCB, LCC, CF8, CF8M, and high-quality trims
Thai PNB has maintained a consistent supply of SUNGO DBB Ball Valves to offshore clients, who continue to place repeated orders due to short lead times, on-time delivery, product quality that meets specifications, excellent finishing, and competitive pricing.
These valves have demonstrated reliable performance in critical systems, supported by SUNGO’s strong engineering and manufacturing capabilities. Large-size valve production, comprehensive testing, and strict quality control throughout the manufacturing process ensure consistent performance and reliability. Factory inspections further reinforce confidence, making SUNGO valves a trusted choice for critical offshore applications.
Over time, as clients gained confidence, SUNGO valves were added to Approved Manufacturer Lists (AML), allowing Thai PNB to participate in new project bidding. This has led to successful project awards in offshore Thailand, further solidifying SUNGO’s reputation in critical applications.
In addition to DBB Ball Valves, Thai PNB also supplies other valve types such as ball, gate, globe, check, and needle valves for offshore projects, ensuring comprehensive support for varied process requirements.
Conclusion
In high-risk industries such as offshore oil and gas, Double Block and Bleed Valves are essential for safety, reliability, and operational integrity. With proven performance in Thailand’s offshore sector, Thai PNB International supplies SUNGO DBB Valves that consistently meet the demands of critical applications.
More Information: SUNGO Valves Corporate Brochure
Contact Thai PNB International for technical consultation or product inquiries: sales@thaipnb.co.th